ВРАЩАЮЩИЙСЯ ЦЕНТР TSC-9062
ЦЕНТРЫ
ВРАЩАЮЩИЙСЯ ЦЕНТР TSC-9062
Нажмите на изображение для увеличения продукта
Серия TSC-9062
СРЕДНЕРЕЖИМНЫЙ ЦЕНТР ОБЛЕГЧЕННОГО ТИПА
Рабочее использование: подходит для длины менее 400 мм и легкого токарного процесса.
Есть модель с вольфрамовым наконечником: TSC-9062-TS14-4.
Проверка точности биения центрального наконечника должна производиться в состоянии крепкого удерживания рабочего стержня.
TIR: менее 0,005 мм
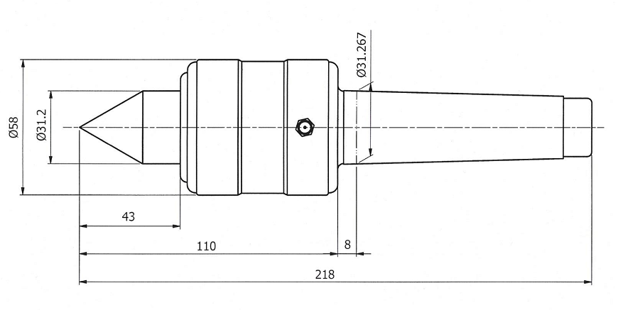
Чертежы TSC-9062-4 и TSC-9062-TS14-4:
|
Модель |
MT |
Макс. число |
Макс радиальная |
Макс аксиальная |
|---|---|---|---|---|
|
TSC-9062-4 |
31.267(MT4) |
3500 |
1000 |
1500 |
|
TSC-9062-TS14-4 |
31.267(MT4) |
3500 |
1000 |
1500 |